文/集佳知識產權代理有限公司 宋天凱
在申請文件的撰寫過程中,經常存在這樣的情形:對產品結構描述之后,還會對該產品的生產安裝方法等進行“順帶性”的描述,例如,該產品可以一體成型;或者,該產品中各部件可以分別制造,然后通過焊接等方式連接;再或者,也可以先通過一體成型的方式制備粗制品,然后再對上述粗制品進行二次加工以獲得該產品。
對于上述內容的描述,在大多數代理人看來,其僅是一種常規性的、順帶性的描述,是對產品結構的輔助性描述,可使得產品更為豐滿,但是,對于專利權的獲得與否影響不大。
對此,筆者持有不同意見,不同的生產安裝方法,往往會對產品的結構產生不同的影響,從而使得本申請所要保護的產品與對比文件產生細微的區別,而這細微的區別卻可能恰恰是本申請獲得專利權的關鍵,尤其是對于實用新型專利權的獲得。
以下筆者將結合一個涉及鋼骨架塑料復合管的實用新型案例,對上述問題進行進一步地分析。
鋼骨架塑料復合管是以高強度鋼絲為材質的經線和緯線焊接而成的鋼絲網為骨架,并在鋼絲網的內、外壁用熱塑性塑料聚乙烯復合而得的新型管道,在實際應用中,為避免輸送介質流入鋼絲網對鋼絲網造成腐蝕,需要對管道端部進行封口處理。
具體而言,通常是采用注塑工藝,即直接在管道的端部熔接純塑段,但由于鋼絲網與內外層塑料的熱收縮率差異較大,鋼絲網的熱收縮相對較小,在產品冷卻成型的儲存期間,內外層的塑料會對鋼絲網產生沿徑向向內的收縮力,相應地,鋼絲網也會產生沿徑向向外的擴張力,在上述收縮力、擴張力的作用下,會導致封口熔接強度的下降,封口質量降低。
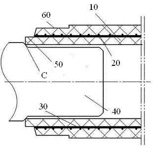
如圖1所示,基于該背景技術,本申請的申請人提出了一種新型的鋼骨架塑料復合管,其權利要求1的技術方案為:一種鋼骨架塑料復合管,包括經線(11)和緯線(12)組合而成的鋼絲網(1),所述鋼絲網(1)的內、外兩側分別設置有內層塑料(2)和外層塑料(3),所述外層塑料(3)的端部與所述鋼絲網(1)的端部平齊,其特征在于,所述內層塑料(2)具有突出于所述鋼絲網(1)的端部的突出部(21)。

圖1
由于該突出部21不含有鋼絲網1,在其上采用焊接或注塑等方式形成封口4時,該突出部21內部不會存在因收縮率不同而產生的應力,封口4與該突出部21之間的熔接界面不易開裂,從而可形成熔接強度高、質量好的封口4。
本申請在提交國知局之后,審查員對本申請進行了初步審查,并檢索到了對比文件1,對比文件1也涉及一種鋼骨架塑料復合管,與本申請屬于同一技術領域,且與本申請的背景技術相同。

圖2
如圖2所示,對比文件1的具體方案為:包括直管10,設于直管10內的以緯線20和經線30組成的鋼網骨架,設于直管10一端外側的封位60,位于所述封位60一端的直管10外側還設有去除緯線20和經線30的臺階50。
該臺階50同樣不含有鋼絲網,在形成封口時,臺階50也不會存在應力,也就是說,對比文件1可取得與本申請近乎相同的技術效果。
結合上述對比文件1,審查員在下發的審查意見中指出:本申請與對比文件1的區別僅在于文字描述上的差異,二者實質上是完全相同的技術方案,且屬于相同技術領域,能夠解決相同技術問題,并能夠產生相同的技術效果,本申請的權利要求1相比于對比文件1不具備新穎性;此外,本申請從屬權利要求中所記載的技術特征對比文件1也全部公開,故而,本申請整體不具備新穎性。
針對上述對比文件1及審查意見,粗看之下,對比文件1與本申請的確極為相似,筆者乃至發明人本人都曾一度認為本案已經沒有任何希望。但經過仔細推敲,筆者發現對比文件1權利要求及說明書中的記載與本申請仍存在一定的細微差別。
如對比文件1所述,對比文件1中臺階是“去除”經線和緯線而形成的,也就是說,該臺階原始是不存在的,其是在鋼骨架塑料復合管形成之后,通過加工、以去除經線和緯線形成。而本申請中的突出部則是由內層塑料突出鋼絲網的端部所形成,在權利要求中并未限定該突出部的具體形成方式。
到此,有讀者可能覺得,不管采用何種方式,本申請中的突出部還是相當于對比文件1中的臺階,二者能夠取得相同的技術效果,本申請仍然不具備新穎性。然而,事實卻并非如此。
專利法26條4款規定,權利要求應當以說明書為依據,對比文件1權項中記載其臺階通過去除經線、緯線形成,再參考其說明書中的詳細記載,對比文件1中經線和緯線的去除步驟為:首先,車去緯線外側的塑料層,再用手鋸去除緯線鋼絲,然后在去除緯線的位置車削去除經線鋼絲。
應當知曉,在上述臺階形成之前,鋼絲網是包裹在內層塑料和外層塑料之間的,在利用上述的手鋸以及車削工藝去除外層塑料進而去除經緯線時,經緯線實際上是很難去除干凈的,為保證經緯線的去除干凈,就需車削更深的厚度,這必然就會導致剩余塑料管壁(臺階)的厚度小于內層塑料的厚度。
而本申請權利要求1所記載的方案為,該突出部由內層塑料突出鋼絲網的端部形成,針對該突出部,在本申請說明書中詳細記載了兩種形成方式,一種與對比文件1較為相似。
本申請所公開的突出部的另一種形成方式是,在生產時,使得內層塑料的長度大于鋼絲網和外層塑料,并將鋼絲網與外層塑料的端部對齊,內層塑料可自然突出于鋼絲網端部以形成突出部。該突出部在形成過程中,未對內層塑料做任何處理,該突出部的厚度必然與內層塑料的厚度相同,相比于對比文件1,突出部的厚度增加,更有利于保證與封口的熔接強度、質量。
基于此,申請人在意見陳述中對本申請的原始申請文件進行了修改,在原始申請文件中增加了“所述突出部與所述內層塑料的厚度相同”的技術特征,對比文件1中的臺階顯然不能夠具備該技術特征,而該技術特征可以使得本申請較之對比文件1產生更為有益的技術效果。
但試想,假如本申請在撰寫過程中,沒有在說明書中“順帶性”的描述該突出部的多種生產方法,即便在說明書中記載了突出部與內層塑料厚度相同的技術特征,恐怕也會因為說明書中未公開相應生產方法而難以對該技術特征進行支持,最終就可能導致本申請不能獲得授權。
綜上可知,在申請文件的撰寫過程中,在對產品結構描述之后,最好再對該產品的生產方法進行描述,不同生產方法而產生的產品結構的細微差異或許正是本申請相比于對比文件的區別技術特征,而該區別技術特征或許就可以使得本申請相比于對比文件具有新穎性乃至創造性,并最終使得本申請的方案獲得授權,以為客戶爭取最大的利益。
以上僅是筆者在處理案件以及學習中的一些心得體會,認識有限,還請各位多批評指正。